공기청정기
공기 속의 먼지나 세균 따위를 걸러 내어 공기를 깨끗하게 하는 장치를 통틀어 이르는 말. 습식 집진기, 정전식 집진기, 필터 따위가 있다
- 국립국어원 표준국어대사전
- 목차 -
Fig.0 대기오염에 관한 흥미로운 사실들
•
《삼국사기》에는 우리나라 최초의 황사가 기록되어 있습니다. 174년 신라 시대에 우토(雨土)라는 이름으로 등장하죠.
•
최근(2017년) 서울의 미세먼지(PM10)와 초미세먼지(PM2.5)는 1990년대에 비해 오히려 절반 가까이 줄어들었습니다.
•
놀랍게도 1970년대 중반까지만 해도 중국의 하늘은 맑았습니다. 제조업 기반의 경제 급속 성장을 하면서 에너지의 대부분은 석탄으로 충족하기 때문에 지금의 모습이 된 것이죠.
•
미국에서 대기 오염 규제법이 생기게 된 배경에는 1948년 발생한 도노라 스모그 사건이 있어요. 당시 주민 20명이 사망하고, 6천여 명이 이상 증상을 보였고, 도노라는 10년이 지난 후에도 다른 지역에 비해 높은 사망률을 보였죠.
•
영국은 스모그와 많은 석탄 매장량 덕분에 옛날부터 대기 오염이 심각했습니다. 1301년 대기 오염을 참다못한 에드워드 1세가 석탄 사용자를 사형하는 법을 제정했어요. 하지만 석탄 사용량은 줄지 않았습니다. 나무 땔감보다 석탄이 훨씬 저렴했기 때문이죠.
Fig.1 최초의 공기청정기는 화력발전소 굴뚝 설치용
Figure.1 프레드릭 코트렐 박사의 전기집진기 특허
19세기 산업 혁명이 본격화되면서 수많은 공장이 생겨났습니다. 오늘날 공장은 정부에서 산업 단지로 조성한 곳에 모여 있는데요. 당시에는 원료 공급이 수월하거나 사람이 많은 곳에 그냥 공장을 세웠죠. 그러다 보니 자연스럽게 인구가 많고, 교통이 좋은 대도시에 수많은 공장이 들어섰습니다. 심지어 런던 버킹엄 궁전 옆에도 커다란 모직 공장이 생겼죠. 이때는 석탄으로 공장을 가동했기 때문에 대도시는 석탄 그을음 문제와 유독 가스가 섞인 매연 문제가 심각했습니다.
이 문제를 해결하기 위해 1912년 미국의 과학자 프레드릭 코트렐Frederick G. Cottrell 박사가 전기집진기를 발명합니다. 전기집진기는 화력발전소 굴뚝에 부착하는 것으로, 정전기를 이용해 초고열의 미세한 연기 입자들을 걸러낼 수 있었죠.
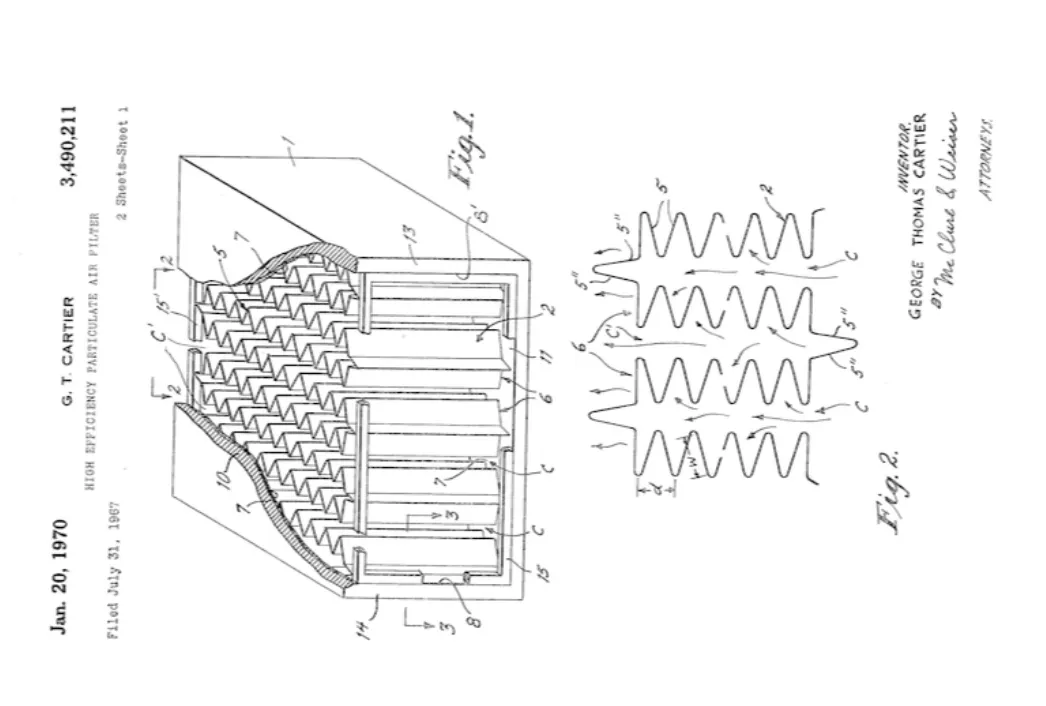
Fig.2 방사능 분진도 정화하는 필터
Figure.2 HEPA 필터 특허
제1차 세계 대전이 끝난 뒤 미국, 일본, 유럽의 강대국들은 군비 경쟁에 열을 올렸습니다. 그중 미국은 소모적인 군비 경쟁을 단번에 해결할 수 있는 아주 강력한 무기의 필요성을 느꼈죠. 이것이 바로 원자 폭탄 개발을 논의한 맨해튼 프로젝트의 시작이 되었습니다.
하지만 맨해튼 프로젝트는 미국 내에서도 거센 반대에 부딪혔는데요. 혹시나 발생할 수 있는 원자력 사고와 방사능 분진에 대한 우려 때문이었습니다. 따라서 맨해튼 프로젝트를 수행하기 위해서는 무엇보다 방사능 관련 개발자들을 보호하기 위한 공기 정화 시스템이 필요했어요. 그렇게 해서 개발된 것이 바로 ‘헤파HEPA 필터’입니다.
헤파는 '고효율 분진 공기(High Efficiency Particulate Air)'의 앞글자를 따 만든 용어인데요. 수많은 주름 필터가 여러 겹을 이뤄 유해한 입자를 걸러내는 필터를 말하죠. 오늘날에도 헤파필터는 많은 곳에 쓰이고 있죠.
Fig.3 일반 사람들을 위한 공기청정기
Figure.3 대표적인 사무용 공기 환기 시스템
Figure.4 1961년 알반 바락의 가정용 공기청정기 특허
곧이어 산업 분야뿐만 아니라 일반 노동자들에게도 공기 정화의 필요성이 제기되었습니다. 고층 빌딩이 생기면서 하루 종일 좁고 밀폐된 공간에서 근무하는 사람들이 많아졌기 때문입니다. 때마침 1955년 미국에서는 대기 오염 통제법이 제정되어 공기 질에 대한 관심이 높아지기 시작했습니다.
공기 청정기에 대한 수요가 생겨나자 이미 개발되어 있던 전기집진기와 헤파 필터를 이용해 사무용 공기청정기가 만들어졌죠. 초기 사무용 공기청정기는 주로 건물 내부에 내장되어, 건축 과정에서 함께 지어졌어요.
사무실에 공기 청정 시스템이 도입되자 일반 가정에서도 공기 청정에 대한 수요가 늘어났습니다. 가정용은 공업용, 사무용과 달리 하나의 가전제품으로 개발되기 시작했죠. 최초의 가정용 공기 청정기 특허는 1961년 알반 바락Alvan Barach 이 낸 것으로 알려져 있습니다. 사실 알반 바락은 환자용 산소마스크를 개발한 것으로 더 유명합니다.
Fig.4 삼성전자에서 시작된 국내 공기청정기 시장
Figure.5 1975년 삼성전자에서 개발한 공기청정기
Figure.6 1981년 한우전자에서 출시한 가정용 공기청정기
국내에서 최초로 개발된 공기 청정기는 1976년 삼성전자에서 나온 것으로 연구 기관이나 병원 등 특수 시설을 위한 장비였죠. 가정용 공기 청정기는 1980년대부터 본격적으로 개발되기 시작었습니다. 1981년 한우전자에서 음이온 공기 청정기를 개발한 것을 시작으로, 1987년 금성의 에어 클리닉, 1989년 삼성전자에서 공기 청정기를 출시했어요.
가정용 공기 청정기는 1980년대에는 새집 증후군, 2000년대에는 황사, 2010년대에는 미세 먼지가 국민 관심사가 되면서 점차 시장을 키워 왔습니다.
Reference.
•
Alvan L Barach, William B Hall. US Patent 2994405A, filed Dec 31, 1958, Issued Aug 1, 1961
•
조문희. (2018). 80·90년대에도 ‘미세먼지 경고’ 계속됐다. 시사저널. URL : https://www.sisajournal.com/news/articleView.html?idxno=174929
•
김태웅. (2021). 가정용 '공기청정기' 어떻게 필수 가전제품이 되었나?. URL : https://www.wip-news.com/news/articleView.html?idxno=5293
*위의 책 링크로 구매가 이루어지면 저에게 소정의 수수료가 지급됩니다. 응원해주셔서 감사합니다.







